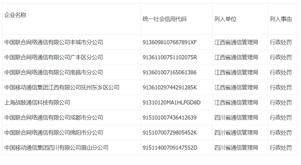
工业和信息化部信息通信管理局近日公布了《2020 年二季度 8 家违规企业被纳入电信业务经营不良名单》。
2020 年二季度,根据《电信条例》《电信业务经营许可管理办法》等相关规定,8 家企业因未经用户同意向用户提供超出其要求范围的电信服务、未经用户同意或者请求擅自发送商业性短信息、限制电信用户选择其他电信业务经营者依法开办的电信服务等违法违规行为,受到电信管理机构行政处罚被纳入电信业务经营不良名单。
此外,详细信息可登陆全国电信业务市场综合管理信息系统(https://tsm.miit.gov.cn)查询。
2020年二季度纳入电信业务经营不良名单的企业


通信头条提示:请各本地网公司注意不要违反工信部的相关规定,也许是个别外包的营销机构所为,但是这种行为也是可以提前预防的。要应以为戒!